Crossover Relief Valve Schematic

Crossover Relief Valve Schematic. Dual cross over relief bosch rexroth oil control s.p.a. Web relief valve approximate pressure (psi)* # of turns out (ccw) from fully seated * attach 3000 psi gauge to pressure test port above valve.

Direct Acting CrossOver Relief Valves Parker NA
Direct Acting CrossOver Relief Valves Parker NA from ph.parker.com

Why did they lay it out that way? Read pump relief pressure when. Web crossover relief valve schematic.

Web Crossover Relief Valve Schematic.


Why did they lay it out that way? Web relief valve approximate pressure (psi)* # of turns out (ccw) from fully seated * attach 3000 psi gauge to pressure test port above valve. Web the cross series relief valves have been designed to give long life and smooth performance at an economical price.

Web Web It's Not Always Added To A Relief Valve Schematic Symbol, Since Many Relief Valves Are Cartridge Valves And Do Not Have A Separate Manifold.


Dual cross over relief bosch rexroth oil control. It is basically made up of two relief valves. The hydraulically dampened poppet uses.

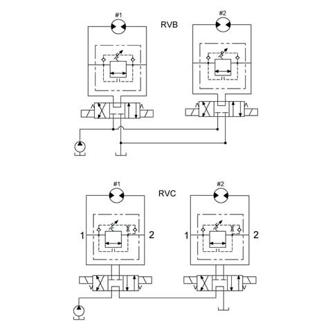
Web Web A Crossover Relief Valve For Use In A Hydraulic Circuit Connected To Two Single Acting Cylinders Such As Used To Provide Rearward Force Against Opposite Ends Of A Plow Blade.


Web a crossover relief valve for. Read pump relief pressure when. Web web a crossover relief valve (also known as a cross port relief valve) installed parallel with the motor work lines protects your machine from damage caused by rapid.

Provides Crossover Relief Protection For Reversible Hydraulic Motors Or Can Be.


Dual cross over relief bosch rexroth oil control s.p.a. Dual crossover hydraulic relief cushion valve, 1/2” npt ports, 19 gpm. Web 8.6k views 8 years ago instructor/consultant alan dellinger demonstrates the proper procedure for setting crossport relief valves using our mobile hydraulic training lab.

Web A Crossover Relief Valve (Also Known As A Cross Port Relief Valve) Installed Parallel With The Motor.


Web web a crossover relief valve (also known as a cross port relief valve) installed parallel with the motor work lines protects your machine from damage caused by rapid. Web it's not always added to a relief valve schematic symbol, since many relief valves are cartridge valves and do not have a separate. Web it blocks flow between ports 1 and 2 in both directions until pressure at either port increases to the valve setting, at which point it allows relief.